二位四通電磁換向閥
- 產品型號:YC24D
- 產品結構:直動式
- 產品壓力:PN16
- 產品材質:鋁
- 產品規格:DN15
聲 明:
產品描述中所有文字、數據、圖片僅供參考,實際型號由使用工況決定!如果您需要更詳細了解【二位四通電磁換向閥】的相關信息或索取相關資料,請聯系我們
二位四通電磁閥YC24D原理:
YC24D二位四通電磁閥常用于快開式排泥閥等閥門的配套使用,安裝在各類池子外,用以排除池底泥沙或污水,特別適合于鋼鐵、鑄造、排污等環境條件惡劣的工作場合。YC24D二位四通電磁閥是零起動直式電磁滑閥,可直接通過電信號進行工作,可任意位置安裝。在工作系統中,電磁鐵接受電信號,使推動閥芯換向,改變介質流通方向,電信號消失后,閥芯靠彈簧自動復位,達到自動控制的目的,并帶有手動裝置。它結構簡單、動作可靠、維修方便、密封性能好、耐振、壽命長等優點。二位四通電磁換向閥YC24D用于液動系統中改變液流方向的控制對排泥閥開啟和關閉作用。
YC24D二位四通電磁閥參數:
公稱通徑:15MM
公稱壓力:1.6MPa
工作壓力:0~1.0MPa
流通介質:水液、空氣、油等無腐蝕性液體
介質溫度:≤60℃(不凍結)
允許溫升:85℃
額定流量:10m3/h
工作壽命:60萬天/次
電源電壓:AC220V DC24V
消耗功率:20W左右
|
 |
YC24D二位四通電磁閥安裝及維修:
1、電磁滑閥可任意位置安裝。
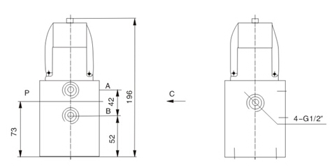
2、安裝時,P為介質進口,“A"、“B"為介質出口,“O"為排放口。
3、接管螺紋為G1/2(或可按用戶要求改為M20×1.5)見外形尺寸圖。
4、管路連接處不得漏氣,按管前需先用干燥壓縮空氣將管道內灰塵及臟物吹凈,并且閥前要安裝大于100目的過濾器。
5、閥的故障:有通電不換向;停電不復位;泄漏三種。故障原因:線圈可能燒掉或連接不牢固;閥芯卡住;彈簧損壞,密封圈破損等。排除故障:更換線圈或重新連接;清洗閥芯,更換彈簧,密封件。